五菱荣光V官降销量不升反降,消费者为何不买单?
4月23日,踩在北京车展上市前夕,被称为“神车”的五菱终于放下身段,发布了官降政策,对旗下MPV和SUV部分车型都进行降价,就连微客荣光V也降了1000-2000元,看来五菱也期待荣光V能为其拉升销量。然消费者似乎并不买帐,自宣布官降后,五菱荣光V的销量不升反降,怎一个“惨”字了得!


到底是神马原因,让“神车”降价都不奏效呢?
笔者认为这与目前的市场环境、消费者需求的变化、五菱自身的“作死”不无关系。
目前,国内微客市场的竞争也日趋激烈,东风小康、长安等竞争对手纷纷出招,“讨好”消费者,也抢夺了五菱荣光V的份额。除了来自同级竞品的压力,五菱荣光V还受到长安欧诺等商用MPV车型的挤压,竞争力已经岌岌可危。
对于购买这个价格车型的消费者来说,最关心还是性价比,以长安欧诺为对比:五菱荣光V官降仅1000-2000元,最低售价3.78万,比售价仅3.59万起的商用MPV长安欧诺 1.3L幸福型还要高出2000元,且配置还不如欧诺丰富,同时长安欧诺还推出了“0首付0利息0担保”、置换补帖2000元、50元包养399包油等众多促销活动吸引消费者购买,看来五菱荣光V还得拿出点诚意,再降才行。
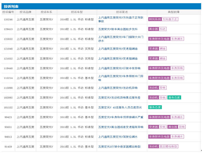
此外,很多车主反映,五菱的产品质量与服务态度都较差。笔者在汽车投诉权威的车质网上看到,五菱产品质量被消费者诟病众多,诉较多的主要为异响、漏油等问题。

相对于质量问题,有相当一部分消费者还因五菱4S店销售人员傲慢、爱理不理的服务态度放弃五菱,转而选择其他竞品。
在消费者为王的当下,五菱如果依然不以消费者为中心,无视消费者的需求,那被消费者“抛弃”也是迟早的事了。
从4月MPV销量排行榜也不难发现,虽然五菱还是占据了前三甲的两个席位,但宏光的销量同比下滑了24%,宝骏730的亚军宝座已被长安欧诺抢夺,且下滑幅度达到了42%这两款同样进行了官降的车型,又是否能够打个翻身仗呢?

标签:
127
网上《GTA 6》地图曝光,大、大、大,比5大了3倍 不知道大家有没有了解过《GTA6》,先前没有新作画面,预告影片,甚至logo 都没有一个(但有被黑客盗了原始码的影片,嘿嘿),仅仅...
160
霍思燕穿抹胸泳衣秀身材!胸口黑痣太抢镜,一双美腿白皙吸睛 近日,有网友在社交平台上晒出一条与霍思燕夫妇度假旅行vlog,引来无数网友的围观,尤其是霍思燕在vlog中的表现,完...
186
火影忍者:带土的4张面具,每一张都有它独特的意义,细思极恐 在火影忍者的世界中,带土是一位串联起整部动漫的主要角色,作为动漫中后期的BOSS,面具也为他增加了许多的神秘感...
455
葛优表情包难得这么齐全,可要收藏妥妥的 葛优的表情包。...
134
钢铁侠将回归2026年上映的《复联6》?网友:复活者联盟? 10月18日,根据多家外媒报道,传闻漫威电影角色“钢铁侠”的饰演者小罗伯特·唐尼将会回归《复仇者联盟6:秘密战争》。...
196
陈一乐!! 喜讯!! 赣州市石城籍中国体操运动员陈一乐 获2018年亚运会最佳女运动员奖项 10月17日,陈一乐在颁奖仪式上。新华社发(尼库摄) 10月17日 第24届国家(地区)奥委会协...
162
跻身巨星行列的利拉德该起什么外号?是“高光德”还是“冷血德” 大家都知道联盟的只要是混的好的球星都会被他们的球迷送一个响亮的外号,就像詹姆斯被球迷称为“小皇帝”,库...
148
穿越火线CFPLS11战队巡礼 CFPLS11战队巡礼 经过2017CFGI比赛结束之后,CFPL S11将在8月18日与我们再次见面,本赛季将会有14支实力不俗的战队为了至高荣誉而展开争夺,到底谁能摘得王冠站上...
170
曾叫嚣“馆长”的搏击冠军炮轰冒牌李小龙传人:你们不过是学狗叫 在前一段时间,练喻轩与台湾知名的健身教父--“馆长”陈之汉在互联网上进行了骂战,甚至一度要一决雌雄。但是...
106
《六零之重生男主是我哥》《福气甜宝五岁半「七零」》 六零之重生男主是我哥 作者:海映星月 父母车祸后被送到孤儿院,并且患有轻微自闭症的林清穿越了。 从来没有亲人的她发现...
110
淄博火车站新列车时刻表16日启用 抢先看! 全国铁路调图 淄博火车站新列车时刻表16日启用 抢先看!12趟列车到发时间变了 晨报淄博4月8日讯 (记者 张培 通讯员 梁兆福 报道)从4月16日起...
166
这是46岁的钟汉良?身形消瘦不失少年感,大秀跳舞超撩可爱极了 最近,#港男有多会保养#话题上了热搜,其中苗侨伟、吴卓羲、黄宗泽等几位香港演员的状态引发了无数网友感慨,直...
181
游玩古北水镇:北京古北水镇一日游,好玩吗一个人要元,贵吗 游玩古北水镇:北京古北水镇一日游,好玩吗一个人要元,贵吗 古北水镇位于北京市密云区古北口镇,背靠中国最美、最...
169
壹健康小知识:小苏打能洗衣服吗?小苏打洗衣服还要放洗衣液吗 小苏打又被称为碳酸氢钠,是生活中一种很常见的食材,其用途有很多,比如用来清洗水果、清洗油渍等,那小苏打能...
114
西游记中的牛魔王有可能是通天教主的坐骑奎牛吗? 根本不可能,这种猜测是错的。 第一,通天的坐骑奎牛根本不是牛,和牛魔王的原身大白牛压根不是一个品种。奎牛,是一种上古...
184
西安又迎来大机遇,西安未来发展潜力不可限量,西安准备好了吗? 中国-中亚峰会圆满成功举办,这是我国外交史上的盛事大事,也是关系我国未来发展的大事,因为我们一带一路中...
210
韩国有线电视频道 tvN 更新LOGO并统一附属频道形象 tvN全称Total Variety Network,韩国娱乐传媒集团CJ EM所拥有的有线电视综合娱乐频道。9月1日起,tvN不仅更新频道LOGO,还将口号「快乐无穷...
106
过春节人们为什么喜欢烧高香?有什么讲究吗? 烧高香——意为:向神佛虔诚烧香。通常,烧的香越高,价格越昂贵,越能代表心诚,许愿越容易受到佛祖的关照而实现。现在通常用来...
121
参观二七纪念塔有感 为学习党史,更加深入了解党的领导,我们一行人选择来到郑州二七纪念塔进行参观。它不仅是郑州的标志性建筑之一,也见证了郑州历史的发展。 1971年在二七烈...
175
24岁林允同台29岁林允儿,名字只差一个字,气质却天壤之别 撞名现在很常见了,十多亿人口总会有人取到相同的名字,普通人还好,见到与自己同名的人,只会尴尬一时。但是明星撞...